
一、压缩空气流量计概述:
产品的种类和适用范围
LUGB/E系列满管型涡街流量仪表
LUGB/E系列插入型涡街流量仪表
LUGB/E型涡街流量仪表广泛适用于石油、化工、冶金、热力、纺织、造纸等行业对过热蒸汽、饱和蒸汽、压缩空气和一般气体(氧气、氮气氢气、天然气、煤气等) 、水和液体(如:水、汽油、酒精、苯类等)的计量和控制.
压缩空气流量计工作原理:
在流体中设置非流线型旋涡发生体(阻流体),则从旋涡发生体两侧交替地产生两列有规则的旋涡,这种旋涡称为卡曼旋涡,如图(一)所示。

图(一)
在旋涡发生体下游形成交替有规律的旋涡列。设旋涡的发生频率为f,被测介质来流的平均速度为V,旋涡发生体迎流面宽度为d,根据卡曼涡街原理,有如下关系式:
f=StV/d 公式(1)
式中:
f-发生体一侧产生的卡门旋涡频率HZ
St-斯特劳哈尔数(无量纲数)
V-流体的平均流速 (m/s)
d-旋涡发生体的宽度 (m)
由此可见,通过测量卡曼涡街分离频率便可算出瞬时流量。其中,斯特罗哈尔数(St)是无因次未知数,
图(二)表示斯特劳哈尔数(St)与雷诺数(Re)的关系。

图(二)
在曲线表中St=0.17的平直部分,漩涡的释放频率与流速成正比,即为涡街流量传感器测量范围度。只要检测出频率f就可以求得管内流体的流速,由流速V求出体积流量。所测得的脉冲数与体积量之比,称为仪表常数(K),见式(2)
K=3600f/Q(1/m?) 公式(2)
式中:K=仪表常数(m-3)。
f=脉冲个数
Q=体积流量(m?)
三、压缩空气流量计产品优势:
▲不受温度、压力的影响,同时不易堵,不易卡,不易结垢,耐高温、高压。
▲安全防爆,适用于恶劣环境。
▲无可动部件、无空洞缝隙设计,产品无磨损、耐脏污,无需机械维修,使用寿命长。
▲采用微功耗高新技术,电池供电的现场显示型流量计,可不断电运行两年以上。
▲稳压补偿一体化设计。
▲电流输出均为电隔离型,具有良好的共模干扰抑制能力。
▲同时显示流量值与累计流量值,不必轮流切换。
▲采用抗振探头,有效消除外界振动影响。
▲电路采用表面贴装工艺,结构紧凑,可靠性高。
▲采用分体式信号转换器,电缆最长10米。
▲量程比宽达20:1。
▲整体结构设计合理,动态测量范围宽,压力损失小。
▲分体式涡街流量计采用不锈钢材质,可适用于腐蚀性介质的测量。
▲现场液晶显示,脉冲、4-20mA输出或485通讯,可与工业自动化系统连接。
技术参数:
表(一)
公称通径(mm) | 15、20、25,40,50,65,80,100,125,150,200,250,300,(300~1000插入式) |
公称压力(MPa) | DN15-DN200 4.0(>4.0协议供货),DN250-DN300 1.6(>1.6协议供货) |
介质温度(℃) | 压电式:-40~150,-40~260,-40~330;电容式: -40~400,-40~500(协议订货) |
本体材料 | 1Cr18Ni9Ti,(其它材料协议供货) |
允许振动加速度 | 压电式:0.2g 电容式:1.0~2.0g |
精确度 | ±1%R,±1.5%R;插入式:±2.5%R, |
范围度 | 1:6~1:30 |
供电电压 | 传感器:DC +12V,DC +24V;变送器:DC +12V ,DC +24V;电池供电型:3.6V电池 |
输出信号 | 方波脉冲(不包括电池供电型):高电平≥5V,低电平≤1V;电流:4~20mA |
压力损失系数 | 符合JB/T9249标准 Cd≤2.4 |
防爆标志 | 本安型:ExdⅡia CT2-T5隔爆型:ExdⅡCT2-T5 |
防护等级 | 普通型IP65 潜水型 IP68 |
环境条件 | 温度-20℃~55℃,相对湿度5%~90%,大气压力86~106kPa |
适用介质 | 气体、液体、蒸汽 |
传输距离 | 三线制脉冲输出型:≤300m,两线制标准电流输出型 (4~20mA) ≤1500m;负载电阻≤750Ω; RS485/HART≤1200m. 选型对照表 |
仪表口径 (mm) | 液体 | 气体 | ||
测量范围 (m3/h) | 输出频率范围 (Hz) | 测量范围 (m3/h) | 输出频率范围 (Hz) | |
15 | 0.3~5 | 35~600 | 2.2~20 | 260~2000 |
20 | 0.6~10 | 29~420 | 4~36 | 210~1900 |
25 | 1.2~16 | 25~336 | 8.8~55 | 190~1140 |
32 | 1.8~20 | 18~264 | 10~150 | 156~1080 |
40 | 2~40 | 10~200 | 27~205 | 140~1040 |
50 | 3~60 | 8~160 | 35~380 | 94~1020 |
65 | 4~85 | 6~120 | 35~800 | 94~940 |
80 | 6.5~130 | 4.1~82 | 86~1100 | 55~690 |
100 | 15~220 | 4.7~69 | 133~1700 | 42~536 |
125 | 20~350 | 3.2~57 | 150~2000 | 38~475 |
150 | 30~450 | 2.8~43 | 347~4000 | 33~380 |
200 | 45~800 | 2~31 | 560~8000 | 22~315 |
250 | 65~1250 | 1.5~25 | 890~11000 | 18~221 |
300 | 95~2000 | 1.2~24 | 1360~18000 | 16~213 |
(300) | 100~1500 | 5.5~87 | 1560~15600 | 85~880 |
(400) | 180~3000 | 5.6~87 | 2750~27000 | 85~880 |
(500) | 300~4500 | 5.6~88 | 4300~43000 | 85~880 |
(600) | 450~6500 | 5.7~89 | 6100~61000 | 85~880 |
(800) | 750~10000 | 5.7~88 | 11000~110000 | 85~880 |
(1000) | 1200~1700 | 5.8~88 | 17000~170000 | 85~880 |
>(1000) | 协议 | 协议 | ||
表(三) 常用气体介质的标准状态密度(0℃,绝压P=0.1MPa)
气体名称 | 密度(kg/m3) | 气体名称 | 密度(kg/m3) |
空气(干) | 1.2928 | 乙炔 | 1.1717 |
氮气 | 1.2506 | 乙烯 | 1.2604 |
氧气 | 1.4289 | 丙烯 | 1.9140 |
氩气 | 1.7840 | 甲烷 | 0.7167 |
氖气 | 0.9000 | 乙烷 | 1.3567 |
氨气 | 0.7710 | 丙烷 | 2.0050 |
氢气 | 0.08988 | 丁烷 | 2.7030 |
一氧化碳 | 1.97704 | 天然气 | 0.8280 |
二氧化碳 | 1.3401 | 煤制气 | 0.8020 |
二.仪表的安装设计
仪表的正确安装是保障仪表正常运行的重要环节,若安装不当,轻则影响仪表的使用精度,重则会影响仪表的使用寿命,甚至会损坏仪表。
安装环境要求:
尽可能避开强电设备、高频设备、强开关电源设备。仪表的供电电源尽可能与这些设备分离。
避开高温热源和辐射源的直接影响。若必须安装,须有隔热通风措施。
避开高湿环境和强腐蚀气体环境。若必须安装,须有通风措施。
涡街流量仪表应尽量避免安装在振动较强的管道上。若必须安装,须在其上下游2D处加设管道紧固装置,并加防振垫,加强抗振效果。
仪表最好安装在室内,安装在室外应注意防水,特别注意在电气接口处应将电缆线弯成U形,避免水顺着电缆线进入放大器壳内。
仪表安装点周围应该留有较充裕的空间,以便安装接线和定期维护。
仪表管道安装要求:
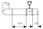
涡街流量仪表对安装点的上下游直管段有一定要求,否则会影响介质在管道中的流场,影响仪表的测量精度。仪表的上下游直管段长度要求见图(三) DN为仪表公称口径 单位:mm
传感器上游 | 前后直管段长度 | 传感器上游 | 前后直管段长度 |
同心收缩 |
| 一个90度 弯头 |
|
同一平面两 |
| 不同平面两 |
|
同心扩管 |
| 调节阀半开 |
|
图(三)
注:调节阀尽可能不安装在涡街流量仪表的上游,而应安装在涡街流量仪表的下游10D处。
上、下游配管内径应相同。如有差异,则配管内径Dp与涡街仪表表体内径Db,应满足以下关系
0.98Db≤Dp≤1.05Db
上、下游配管应与流量仪表表体内径同心,它们之间的不同轴度应小于0.05Db
仪表与法兰之间的密封垫,在安装时不能凸入管内,其内径应比表体内径大1-2mm
测压孔和测温孔的安装设计。被测管道需要安装温度和压力变送器时,测压孔应设置在下游3-5D处,测温孔应设置在下游6-8D处,见图(七)。D为仪表公称口径,单位:mm
仪表口径的确定和安装设计 7 |
仪表在在管道上可以水平、垂直或倾斜安装。
测量气体时,在垂直管道安装仪表,气体流向不限。但若管道内含少量液体,为了防止液体进入仪表测量管,气流应自下而上流动,如图(四)a所示
测量液体时,为了保证管内充满液体,所以在垂直或倾斜管道安装仪表时,应该保证液体流动方向从下而上。若管道内含少量气体,为了防止气体进入仪表测量管,仪表应安装在管线的较低处
如图(四)b所示
